[SeaWorld Orlando] Pipeline - The Surf Coaster - B&M (2023)

Je trouve l'idée super, mais je ne sais pas si un tel layout est réalisable. Si c'est le cas, il risquerait d'avoir un problème de fluidité.
 
Au delà du fait que c'est complètement improbable, mais je trouve que la création visuelle de cette vidéo est vachement bien foutu, et y'a un vrai travail de modélisation.

Mais une usine à gaz pareil, même si un constructeur se motivait (déjà impossible), aucun parc risquerait ça quand on compare l'ajout de sensation par rapport à l'ajout de complexité.
 
JR-80 a dit:
Mais elles ne rouleraient pas toutes simultanément

On multiplie quand même par 4 le nombre de roues.
Sans compter que l'usure doit être calculée aux poils de fesse, la dilatation thermique de l'acier qui va entraîner modification de l'emplacement des sections de rails, même de quelques dixièmes de millimètres sinon je vous raconte pas la violence des à-coup pendant les transitions.

Le concept en lui-même n'est déjà pas viable, faut imaginer le prix d'une quadruple heartline roll (×4 rails + poteaux) qui n'a en plus aucune quelconque utilité mécanique...

Et bordel, pour faire homologuer au transport de passagers un truc comme ça !

Je pense que ce ne sera qu'un rêve  :roll:
 
Nan mais encore une fois, pour que ça soit viable, faut que ce soit un vekoma  :fou:
Pas chère à la création, les à-coup dans tout les cas c'est le quotidien et puis les roues poua ya qu'a prendre a la casse  :fou:
 
Non mais c'est XYZ Coaster, c'est une grosse blague (comme le fameux brevet d'ailleurs) !

Pour revenir serieusement au sujet on peut imaginer plusierus hypothèses :

- la rumeur du standup me parait assez correcte; c'est un modèle important de l'histoire de b&m mais les problemes des modèles des années 90 lui ont été fatals, peut-être que B&M a trouvé des solutions techniques à certains d'entre eux ?

- si le nom "surf coaster" pourrait faire croire à un stantup en position surfer j'y crois pas des masses; je suis même pas sur que ce soit un indicateur fiable ce nom, c'est peut-être juste la thématique du premier modèle qui l'a inspiré (on parlait pas de Raptor Coaster pour les Wing B&M à l'origine ?)

- on peut aussi aller chercher dans les éléments qui manque à la fois au catalogue B&M et à Sea World Orlando : un WING 4D (j'y crois pas, ça me parait trop fou pour B&M), un coaster qui inclue des effets water coaster (why not...) ou un coaster dédié au launch coaster (avec des rails moins épaisses pour concurrencer les shockwaves & blitz)
 
J'espère pas que B&M sorte du launch un jour ! J'ai pas testé leurs 2 ou 3 launch coaster mais je pense que ça sera une combine entre Mack (c'est à dire launch très mou juste pour faire avancer le train) et B&M donc des éléments déjà vu et revu ! Pour moi ça serait assez inutile.
Pour un modèle 4D, à moins qu'il ai trouvé un truc révolutionnaire, je vois pas B&M s'embarquer dans cette voie !

Personnellement je penserais plus à certaines idées qui peuvent sembler stupide mais par exemple un modèle d' Xtreme spinning à la sauce B&M ou plutôt un water coaster qui serait pour le coup le premier proto avec des inversions et tout le bordel ! Voyant ses collègues travailler dessus ça m'étonnerai pas qu'ils se soient lancé dans le projet sans rien dire et en plus s'est parmis les seules à rien proposer d'aquatique dans le catalogue !
 
alexlitactiti a dit:
J'espère pas que B&M sorte du launch un jour ! J'ai pas testé leurs 2 ou 3 launch coaster mais je pense que ça sera une combine entre Mack (c'est à dire launch très mou juste pour faire avancer le train)

Launch à la sauce Mack ? Le peu de launch que B&M ont fait, ils sont puissant que ce soit Hulk/Transformers coaster dans les parcs Universal’s où plus récemment Thunderbird c’est bien plus puissant qu’un Mack.
 
Ok pour Hulk, mais j'ai un souvenir très moyen du launch de Thunderbird. En même temps vu comment les trains sont massifs, le contraire aurait été étonnant
 
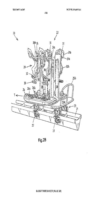
Sur ce même forum dans la catégorie des brevets et innovations, un membre de ce forum a publié je cite « Sinon voilà le Surf Coaster Vekoma » (2013)

Je ne sais pas comment il a trouvé le constructeur et le nom mais je pose tout de même le brevet en image:











Voici le lien:

http://worldwide.espacenet.com/publicationDetails/mosaics?CC=WO&NR=2007136245A1&KC=A1&FT=D&ND=&date=20071129&DB=&locale=en_EP
 
Il y a deja un truc comme ça sur le theme du hall-pipe. C'est à Joypolis, Odaiba, Tokyo, Japan.
Je n'ai pas retrouvé mes photos, mais c'est amusant à rider, même si un peu gerbifiant pour moi. En revanche, je ne sais pas si c'est du Vekoma.
 
Kylian_MLT a dit:
Sur ce même forum dans la catégorie des brevets et innovations, un membre de ce forum a publié je cite « Sinon voilà le Surf Coaster Vekoma » (2013)

Je ne sais pas comment il a trouvé le constructeur et le nom mais je pose tout de même le brevet en image

Oui c'était moi. :-)
Le brevet est aussi disponible sur Google Patent et on peut voir qu'il est au nom de Vekoma.

J'avais déjà émis l'hypothèse de retrouver ce concept chez B&M, d'autant plus que pour le flying coaster à embarquement latéral les brevets B&M et Vekoma sont étrangement très similaires... Alors un échange est-il possible ? Aucune idée...

b47GI55.jpg


ng9ei5O.jpg


Brevet B&M et Brevet Vekoma
 
Fran a dit:
Il y a deja un truc comme ça sur le theme du hall-pipe. C'est à Joypolis, Odaiba, Tokyo, Japan.
Je n'ai pas retrouvé mes photos, mais c'est amusant à rider, même si un peu gerbifiant pour moi. En revanche, je ne sais pas si c'est du Vekoma.

Si je dis pas de bêtise ces engins sont du Intamin, il en existait d'autres à l'époque je crois
On pouvait en construire sur rct3 si je dis pas de bêtise
 
stephane75 a dit:
wow... super etrange l'engin... un espece de melange de stand-up, de spining....  :scream:

Où est-ce que tu vois que ça tourne ? Pour moi c'est juste un stand up de côté, mais ya pas de spinning.  :?
 
Ezekiel138 a dit:
Où est-ce que tu vois que ça tourne ? Pour moi c'est juste un stand up de côté, mais ya pas de spinning.  :???:


C'est vrai! Rien n'indique que cela spine. Mais ou est l’intérêt de créer un coster ou le débit vas être tres réduit ( chose impensable chez B&M pourtant) . Innover je suis toujours pour mais la plus que tres sceptique mais en même temps curieux.
 
stephane75 a dit:
Mais ou est l’intérêt de créer un coster ou le débit vas être tres réduit ( chose impensable chez B&M pourtant)

Le système d'embarquement sera probablement le même que pour un wing (file divisée en deux, embarquement de chaque côté).
De plus, on ne connait pas le nombre de wagons par train, mais il y en aura sûrement autant que dans les autres coasters B&M, que les wings en particulier. On ne voit qu'un seul wagon sur les dessins du brevet, mais ce ne sont pas les dessins B&M (la forme du rail ne correspond pas).